Egyéb HEIDENHAIN termékek

RAKTÁRUNKBAN MEGTALÁLHATÓ, AZONNAL SZÁLLÍTHATÓ HEIDENHAIN TARTALÉKALKATRÉSZEK*

DA 300

DA 300 levegő előkészítő egység / ID: 348249-01 (kifutott termék!)

  • HEIDENHAIN mérőrendszerekhez
  • Használatával többszörösére növelhető a mérőlécek és szögmérők élettartama, illetve fokozható a termékek IP védettsége

DA 400

DA 400 levegő előkészítő egység / ID: 894602-01

  • HEIDENHAIN mérőrendszerekhez
  • Használatával többszörösére növelhető a mérőlécek és szögmérők élettartama, illetve fokozható a termékek IP védettsége

 

nincs_kep

ID: 337147-01

  • Finomszűrő DA 300-hoz

nincs_kep

ID: 337148-01

  • Aktív karbonszűrő DA 300-hoz

nincs_kep

VF-DA 400 / ID: 810415-01

  • Előszűrő DA 400-hoz

nincs_kep

FF-DA 400 / ID: 810416-01

  • Finomszűrő DA 400-hoz

nincs_kep

AK-DA 400 / ID:810421-01

  • Aktív karbonszűrő DA 400-hoz

T404_HDH

T404 tapintószár TS munkadarab bemérőkhöz / ID: 352776-04

  • Hossz: 40 mm
    Átmérő: 4 mm

T404_HDH

T424 tapintószár TS munkadarab bemérőkhöz / ID: 352776-24

  • Hossz: 21 mm
    Átmérő: 4 mm

nincs_kep

Rubingömb KT 130 munkadarab bemérőhöz / ID: 285067-01

  • Átmérő: 8 mm

toroszar_TT

Törőszár TT 140 Szerszámbemérőhöz / ID: 559758-01

  • Gyengítéssel ellátott tartócsap és csavarok

tarcsa

Tárcsa TT 140 Szerszámbemérőhöz / ID:

  • Átmérő: 40 mm

310194-05

Kábel TT 140 Szerszámbemérőhöz / ID: 310194-05

  • Hossz: 5 méter

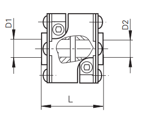
K17_kuplung

K17 (6/6) HEIDENHAIN rugalmas kardán kuplung / ID: 1246841-01

  • Galvanikus leválasztás
  • D1/D2 = 6/6 mm
  • Teljes hossz: 22 mm
  • Legnagyobb átm: 30 mm
  • Rögzítő csavar: M3

K17_kuplung

K17 (5/6) HEIDENHAIN rugalmas kardán kuplung / ID: 1246841-06

  • Galvanikus leválasztás
  • D1/D2 = 5/6 mm
  • Teljes hossz: 22 mm
  • Legnagyobb átm: 30 mm
  • Rögzítő csavar: M3

K17_kuplung

K17 (10/10) HEIDENHAIN rugalmas kardán kuplung / ID: 1246841-04

  • Galvanikus leválasztás
  • D1/D2 = 10/10 mm
  • Teljes hossz: 22 mm
  • Legnagyobb átm: 30 mm
  • Rögzítő csavar: M3

K17_kuplung

K17 (6/10) / HEIDENHAIN rugalmas kardán kuplung / ID: 1246841-0

  • Galvanikus leválasztás
  • D1/D2 = 6/10 mm
  • Teljes hossz: 22 mm
  • Legnagyobb átm: 30 mm
  • Rögzítő csavar: M3

K17_kuplung

K14 (6/6) HEIDENHAIN rugalmas kardán kuplung / ID: 293328-01

  • Galvanikus leválasztás
  • D1/D2 = 6/6 mm
  • Legnagyobb átm: 30 mm

rogzito_ful

Rögzítő fül / Szinkro peremes ROD 400/ROC 400/ROQ 400 jeladókhoz / ID: 200032-01

  • Furat átmérő: 3,5 mm
    H= 5,0

550678-xxx

Kábel LC mérőlécekhez  / ID: 550678-xx

  • Fém gégecsöves, 3,6 és 9 méteres kivitelben

344451-xx

Kábel LS mérőlécekhez / ID: 344451-xx

  • Fém gégecsöves, 3 és 6 méteres kivitelben

nincs_kep

Kábel régebbi típusú LS útmérőkhöz / ID: 310731-xx

  • Fém gégecsöves, 3 méteres kivitelben

634265-xx

HEIDENHAIN EnDat2.2 kábel / ID: 634265-xx

  • Ár / méter HEIDENHAIN abszolút mérőrendszerekhez
  • Csatlakozók nélkül

nincs_kep

AE LC 181 abszolút mérőléc olvasófej / ID: 362294-01

  • Abszolút HEIDENHAIN LC 181 mérőlécekhez
  • Kábel nélkül

 

nincs_kep

AE LC 1×5 abszolút mérőléc olvasófej / ID: 826121-02

  • Abszolút HEIDENHAIN LC 1×5 mérőlécekhez
  • Kábel nélkül

nincs_kep

AE LC 1xx  abszolút mérőléc olvasófej / ID: 559314-05

  • Abszolút HEIDENHAIN LC 1xx mérőlécekhez
  • Kábel nélkül

 

nincs_kep

AE LC 211 abszolút mérőléc olvasófej / ID: 721856-03

  • Abszolút HEIDENHAIN szalagos mérőlécekhez
  • Kábel nélkül

nincs_kep

AE LC 4xx abszolút mérőléc olvasófej / ID: 559308-05

  • Abszolút HEIDENHAIN LC 4xx  mérőlécekhez
  • Kábel nélkül

nincs_kep

AE LB 382C olvasófej / ID: 315420-04

  • Távolságkódolt olvasófej LB 382C szalagos mérőlécekhez
  • Kábel nélkül

 

nincs_kep

AE LB 382 olvasófej / ID: 315420-03

  • Távolságkódolt olvasófej LB 382 szalagos mérőlécekhez
  • Kábel nélkül

 

nincs_kep

AE LB 302 olvasófej / ID: 315420-01

  • Távolságkódolt olvasófej LS 302 szalagos mérőlécekhez
  • Kábel nélkül

nincs_kep

AE LB 301C olvasófej /  ID: 284931-03

  • Távolságkódolt olvasófej LS 301C szalagos mérőlécekhez
  • Kábel nélkül

nincs_kep

AE LB 301 olvasófej / ID: 284931-01

  • Olvasófej LB 301 mérőlécekhez
  • Kábel nélkül

 

nincs_kep

AE LS 328C olvasófej / ID: 516281-13

  • Távolságkódolt olvasófej LS 328C mérőlécekhez
  • Kábel nélkül

 

nincs_kep

AE LS 628C olvasófej / ID: 597346-13

  • Távolságkódolt olvasófej LS 628C mérőlécekhez
  • Kábel nélkül

nincs_kep

AE LS 688C olvasófej / ID: 597346-02

  • Távolságkódolt olvasófej LS 688C mérőlécekhez
  • Kábel nélkül

 

nincs_kep

AE LS 486 olvasófej / ID: 635816-02

  • Olvasófej LB 486 mérőlécekhez
  • Kábel nélkül

nincs_kep

AE LS 486C olvasófej / ID: 635816-01

  • Távolságkódolt olvasófej LS 486C mérőlécekhez
  • Kábel nélkül

nincs_kep

AE LS 187C olvasófej / ID: 594878-01

  • Távolságkódolt olvasófej LS 187C mérőlécekhez
  • Kábel nélkül

 

nincs_kep

AE LS 303C / ID: 310107-03

  • Távolságkódolt olvasófej LS 303C mérőlécekhez
  • Kábel nélkül

nincs_kep

AE LS 303 / ID: 310107-04

  • Olvasófej LS 303 mérőlécekhez
  • Kábel nélkül

 

nincs_kep

AE LS 603 / ID: 253329-23

  • Olvasófej LS 603 mérőlécekhez
  • Kábel nélkül

 

nincs_kep

AE LS 603C / ID: 326799-02

  • Távolságkódolt olvasófej LS 603C mérőlécekhez
  • Kábel nélkül

 

nincs_kep

AE LS 703 / ID: 253329-45

  • Olvasófej LS 703 mérőlécekhez
  • Kábel nélkül

 

nincs_kep

NC-START nyomógomb / ID: 623553-04

  • HEIDENHAIN billentyűzetekhez (típusfüggő)

 

nincs_kep

NC-STOP nyomógomb / ID: 623553-05

  • HEIDENHAIN billentyűzetekhez (típusfüggő)

nincs_kep

POWER ON nyomógomb / ID: 623553-03

  • HEIDENHAIN billentyűzetekhez (típusfüggő)

nincs_kep

Potenciométer tartozékokkal / ID: 385502-09

  • HEIDENHAIN TE 3xx, 4xx, 5xx, 6xx tasztatúrákhoz

 

nincs_kep

Potenciométer tartozékokkal / ID: 385502-02

  • HEIDENHAIN TE tasztatúrákhoz (típusfüggő)

 

nincs_kep

Szervzikészlet / ID: 361026-01

  • HR 410 HEIDENHAIN kézikerékhez

 

nincs_kep

Vészstop gomb / ID: 1118409-01

  •  HR 410 HEIDENHAIN kézikerékhez

nincs_kep

Vész-Stop gomb csomag / ID: 1217476-01

  •  HEIDENHAIN  HR 5xx(FS) kézikerékhez

 

nincs_kep

TT 160 kábeles szerszámbemérő tapintó / ID: 729763-01

nincs_kep

Rubingömb / ID: 285067-01

  •  KT 130 mérőtapintóhoz

 

nincs_kep

Vakdugó / HR kézikerékhez / ID: 271958-03

 

HDH_SPIRALKABEL_HR

Spirálkábel /  ID: 312879-01

  •  HEIDENHAIN HR kézikerékhez / Kihúzva 3 méter

 

nincs_kep

HEIDENHAIN kábel LB szalagos mérőlécekhez / ID: 310126-xx

  • Fém gégecsöves
  • Több féle hosszban elérhető

 

nincs_kep

HEIDENHAIN kábel LB szalagos mérőlécekhez / ID: 310127-xx

  • Gégecső nélküli
  • Több féle hosszban elérhető

 

nincs_kep

HEIDENHAIN kábel LS mérőlécekhez / ID: 344451-xx

  • Fém gégecssöves
  • Több féle hosszban elérhető

nincs_kep

HEIDENHAIN kábel LC mérőlécekhez  / ID: 1122879-xx

  • Fém gégecsöves
  • 3, 6 és 9 méteres hosszakban
  • LC abszolút mérőlécekhez

 

550678-xxx

HEIDENHAIN kábel LC mérőlécekhez / ID: 533631-xx

  • Ár / méter HEIDENHAIN abszolút mérőrendszerekhez
  • Másik végén M23-as 17 pólusú apa csatlakozóval

 

nincs_kep

HEIDENHAIN kábel LS mérőlécekhez / ID: 310121-xx

  • Kábel LS 4xx(C) / LF 4xx(C) kis profilú mérőlécekhez
  • Fém gégecsöves
  • Több féle hosszban elérhető

344451-xx

HEIDENHAIN kábel LS mérőlécekhez / ID: 310124-xx

  • Kábel LS 303, 303C, 403, 403C mérőlécekhez
  • Fém gégecsöves
  • Több féle hosszban elérhető

 

kabel

HEIDENHAIN kábel adapter / LC 4xx mérőlécekhez / ID: 617765-N2

  • 0,25 méter
  • LC 481, 482, 483, 485 abszolút kis profilú mérőlécekhez

kabel

HEIDENHAIN kábel adapter / LS 4xx mérőlécekhez / ID: 517776-N2

  • 0,25 méter
  • LS 486/486C, 487/487C abszolút kis profilú mérőlécekhez

kabel

HEIDENHAIN kábel adapter / LC/LS 1xx mérőlécekhez / ID: 607720-N2

  • 0,25 méter
  • LC 181,182,183,185,19x abszolút nagy profilú mérőlécekhez

 

 

*Az éppen aktuális raktárkészlethez mérten.  Kérjük pontos információért , illetve ajánlatkérésért lépjen kapcsolatba velünk a főoldalon található elérhetőségek bármelyikén.